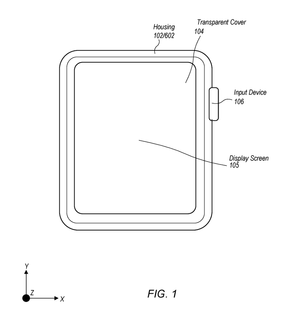
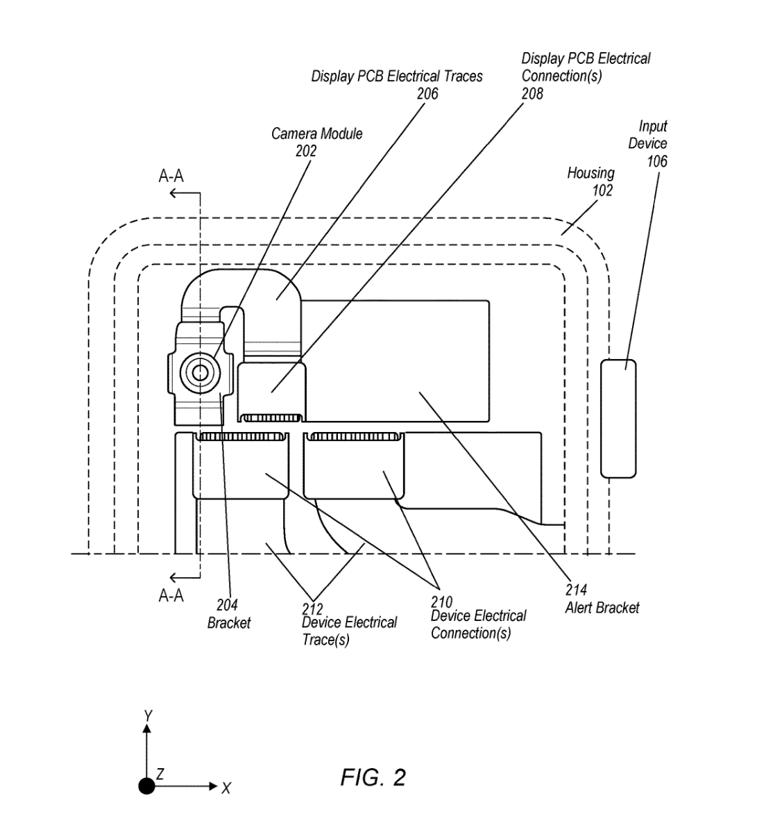
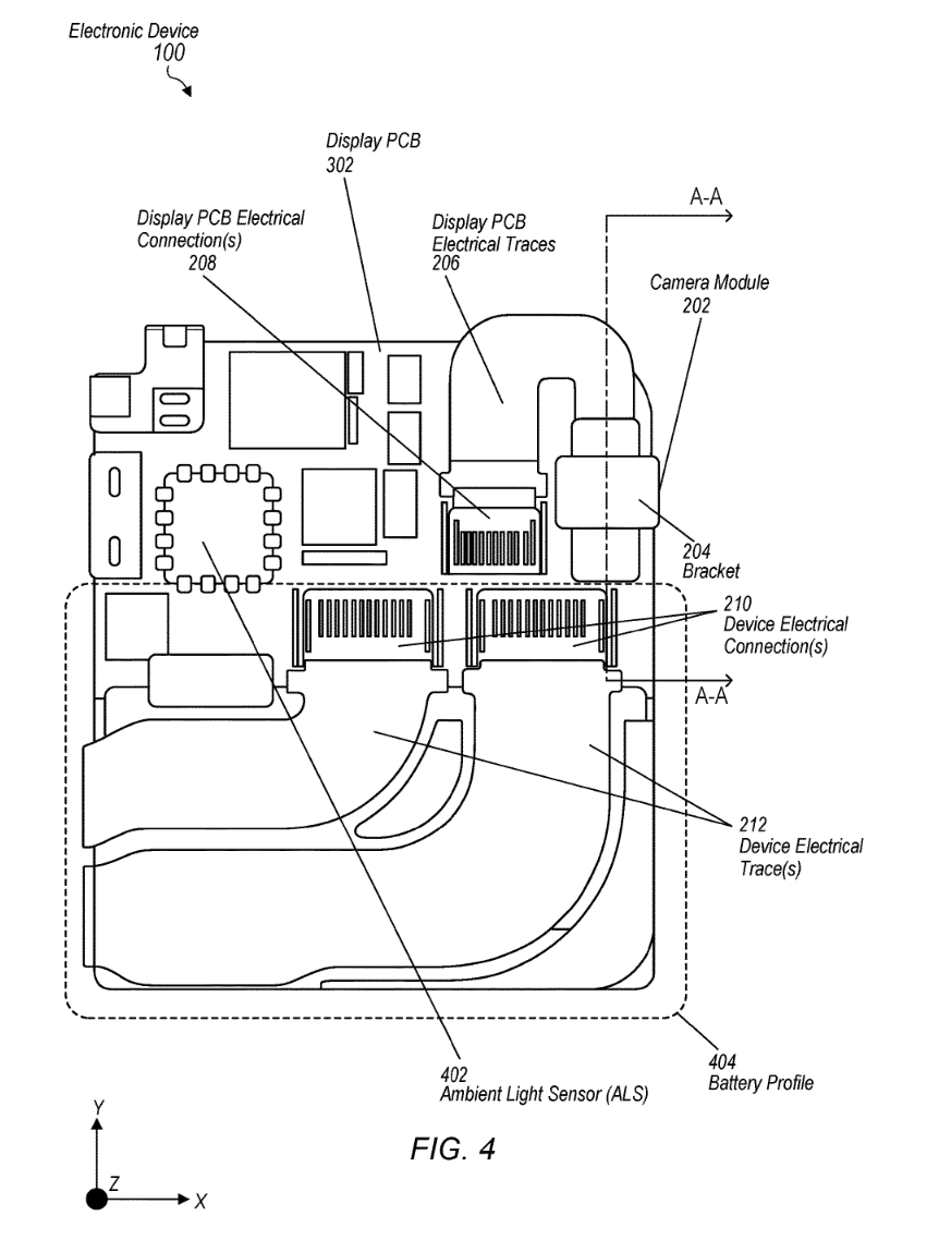
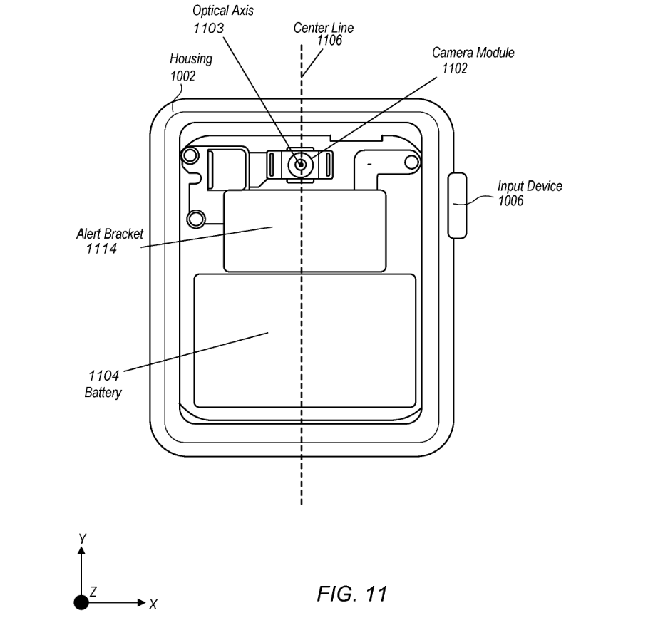
据 3 月 29 日最新媒体消息,根据美国商标和专利局(USPTO)近日公示的清单,苹果公司获得了一项关于 Apple Watch 的专利,重点展示了屏下摄像头解决方案,可以用于拍照、Face ID 以及追踪面部和物体等。

根据专利设计草图,摄像头可以隐藏在屏幕下方,显示面板可包括一个高透光区,在不影响日常使用的情况下,增加到相机模块的透光率。
高透光区域的大小可能取决于多个相机模块参数,包括视场角、入口瞳孔大小和位置、镜筒尺寸、F 数等。高透光区可与相机模块参数共同设计,以实现更小的高透光区和更好的相机模块性能。IT之家附上截图如下:










测评号









