据 3 月 22 日最新媒体消息,根据美国商标和专利局近日公示的清单,苹果公司近日获得了一项关于 Vision Pro 头显的技术专利,内置传感器可以读取佩戴者脑电波,用于改善心理健康、辅助训练和锻炼,并帮助调整心态。
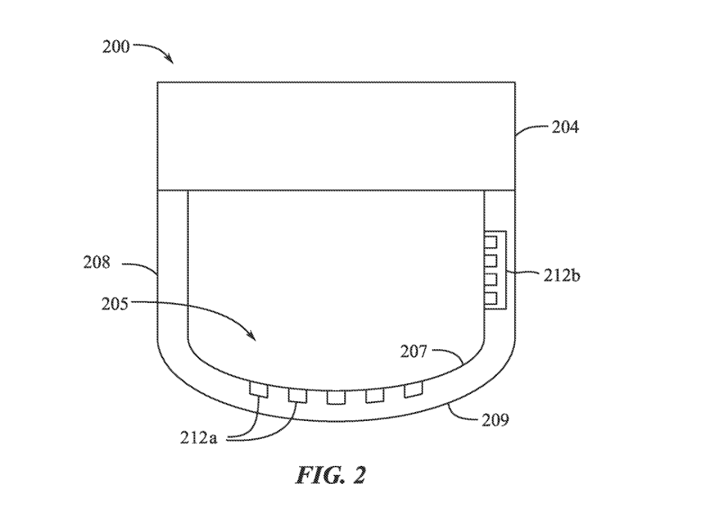
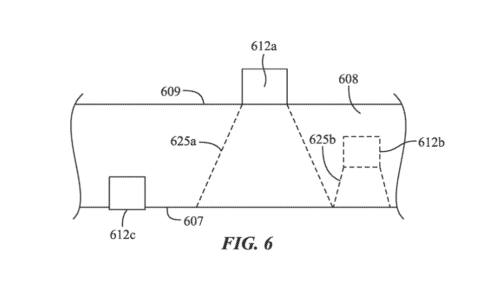
IT之家附上专利截图如下:

苹果在专利中构想了未来的 Vision Pro 头显,引入了一个无创的神经接口,可以读取佩戴者的脑电波信号,并监测心脏、肺部和大脑区域,并基于某些情境提供更丰富的交互体验。
苹果在专利中明确这种方式无法直接读取用户的想法,但它可以收集数据,推动与健康有关的活动,例如在学习过程中大脑是否存在分心情况,在玩游戏过程中基于脑电波数据判断是否出现恐慌反应等等。

苹果表示这项专利的核心应用和目的是改善佩戴者的身心健康,并希望未来能制造出一种基于治疗的设备,供医疗和心理健康从业者使用。

另一个可能的应用是利用传感器反馈,帮助有多动症或者其它问题的学生提高注意力和理解力。
该专利描述了在设备的头带中嵌入传感器,以监测不同的大脑区域。头带可有效检测体温、脉搏数据、呼吸频率和血压。


测评号









