测评推荐苹果iPhone4iPhone16首发不要买,1个月后就背刺你800! iPhone16 定档9月10号 说说关于购买iPhone16的一些建议: 1、尝鲜用户可以考虑双11入手,发布年双11 比首发预计能便宜 800 900。 2、等次年 618,预计比首发便宜1200~1300 3、再等到次年的双11顶多再多降100,200不会有更大降幅。 还是那句话,现在苹果的销售策略...赞 (0)投稿用户2024-08-20阅读(572)标签:iphone / iphone怎么样?
科技数码iPhone 16全新按键细节曝光1一直有关于“iPhone 16系列将引入一枚创新操作按键”的传闻,近日,国外媒体进一步揭示了这颗按键的具体功能及操作细节。 据悉,全新的操作按键将安置于iPhone 16系列的机身右侧,与电源键相呼应,其设计灵感似乎汲取了单反相机快门按钮,支持多样化的手势操作并能精准感知不同的按压力度。 轻轻触碰该按键,即可实现快速对焦功能;而施加更大力度按压,则能直接完成...赞 (0)投稿用户2024-08-17阅读(455)标签:iphone / iphone怎么样?
科技数码Apple Watch拥抱AI,配合苹果iOS 18.1 iPhone可间接摘要通知内容2据 8 月 15 日最新媒体消息,苹果在官方公告中表明,Apple Watch 并不支持 Apple Intelligence,不过搭配升级到 iOS 18.1 系统的 iPhone,用户可以体验 AI 通知摘要特性。 Apple Intelligence 功能之一就是通知摘要(Notification Summaries),通过 AI 总结 Message...赞 (0)投稿用户2024-08-15阅读(486)标签:iphone / iphone怎么样?
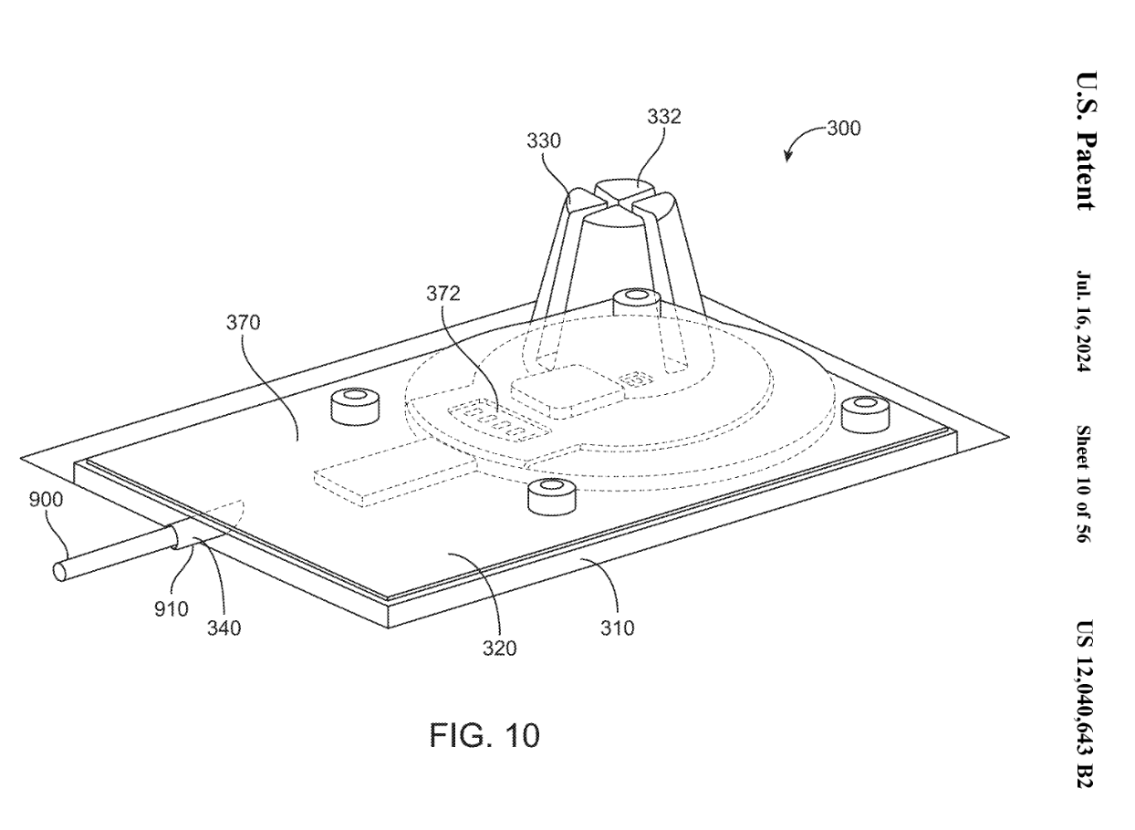
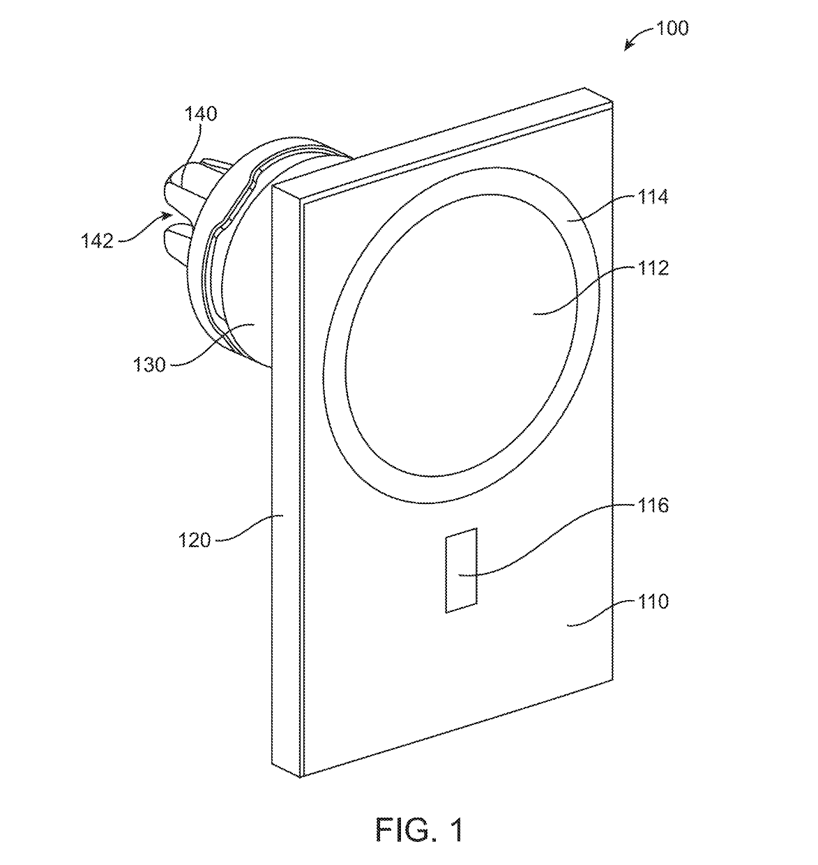
科技数码支持MagSafe无线充电,苹果新专利探索iPhone车用支架4据 7 月 20 日最新媒体消息,美国商标和专利局(USPTO)于 7 月 16 日发布公示,苹果公司获批一项新的设计专利,暗示该公司未来将会推出支持无线充电的车用 MagSafe 支架。 苹果公司在专利中表示,iPhone 等电子设备已成为用户的日常携带物品,针对汽车驾驶场景,开发专门的支架,避免因急转弯或急刹车等情况下,导致 iPhone 移动、脱落等。...赞 (0)投稿用户2024-07-20阅读(499)标签:iphone / iphone怎么样?
科技数码划时代产品遭淘汰!iPhone X、初代AirPods被苹果列为过时产品47月2日消息,苹果公司今天更新了官网列表,将 iPhone X、初代 HomePod 和初代 AirPods 列为“过时产品”(vintage)。 据悉,苹果会在产品停售5年-7年后标记为过时产品,这就意味着这些产品可能无法获得苹果官方的维修服务,但如果仍有零件可用,苹果仍会提供最多两年时间的维修服务。 iPhone X是苹果公司2017年9月13日推出的旗...赞 (0)投稿用户2024-07-02阅读(489)标签:iphone / iphone怎么样?
测评推荐苹果iPhone怎么样10大家好,今天分享的是iPhone15原相机调色技巧 拍完照片还是原照片的颜色,很多时候调色无从下手 喜欢拍照的小伙伴可要看好咯 拿出照片来照抄调色参数吧,分分钟调出大片高级感 ⑨种手机?调色滤镜合集,赶快?住?! ❗❗ top小知识?? 调整参数时可以根据每张照片的颜色的光线不同,稍微调整一下参数,这样才会更好的调成自己想要的效果。 建议收藏起来,用时方便哟...赞 (0)投稿用户2024-06-26阅读(465)标签:iphone / iphone怎么样?
科技数码需依赖iPhone/Max!Vision Pro廉价版曝光:苹果降配,不能单独使用1快科技6月24日消息,业内人士Mark Gurman爆料,苹果正在开发Vision Pro廉价版头显,代号N107,这款设备最快会在2025年底登场。 与Vision Pro相比,廉价版头显最大变化是不能单独使用,必须连接iPhone或者Mac设备。 据悉,Vision Pro搭载M2和R1芯片,其中R1是为应对实时传感器处理任务而设计的,它负责处理来自12...赞 (0)投稿用户2024-06-24阅读(444)标签:iphone / iphone怎么样?
科技数码苹果计划推出更薄iPhone、MacBook Pro和Watch鞭牛士报道,6月17日消息,据彭博社报道,苹果将在几个月内逐步推出其新的智能功能,力求避免其他人工智能系统所面临的陷阱。 此外,该公司在Vision Pro 软件方面取得了巨大进步;新款 iPad Pro为更薄的 iPhone 奠定了基础;在OpenAI 合作伙伴关系内;新的卫星短信功能即将成为苹果最新的付费服务。 谈到苹果公司的新型人工智能产品,该公司的步...赞 (0)投稿用户2024-06-17阅读(530)标签:iphone / iphone怎么样?
科技数码未来10年将取代iPhone!苹果Vision Pro国行版6月14日预售:29999元起5快科技6月14日消息,今日,苹果Vision Pro国行版将开启预售,提供256GB、512GB、1TB三种内存版本,售价29999元起,每位消费者限购2台。 需要提醒的是,在选购过程中,苹果需要测量使用者所需的遮光罩和头带尺码。 因此,用户需准备一台支持Face ID且装有最新版本Apple Store App的 iPhone或iPad完成面部扫描。 苹果...赞 (0)投稿用户2024-06-14阅读(501)标签:iphone / iphone怎么样?
科技数码苹果新版MacOS发布:支持iPhone镜像“多屏协同”来了7快科技6月11日消息,在今天凌晨的全球开发者大会(Worldwide Developers Conference)上,苹果公司发布了新版MacOS。 新版MacOS引入了“iPhone mirroring”功能,允许用户将iPhone的界面镜像映射到Mac上,并可直接在Mac上操作iPhone,这一点看似与华为的“多屏协同”功能相似。 此外,新版MacOS还...赞 (0)投稿用户2024-06-11阅读(433)标签:iphone / iphone怎么样?