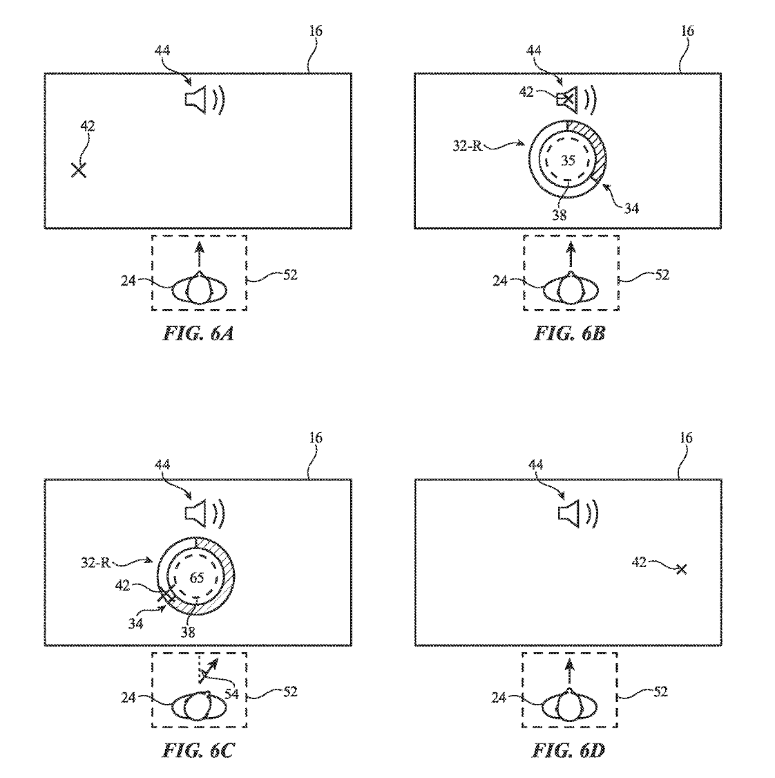
据 7 月 3 日最新媒体消息,根据美国商标和专利局最新公示的清单,苹果公司获得了一项关于 Vision Pro 头显的新专利,在手势、眼球追踪之外探索头部控制方案。

根据专利描述,Vision Pro 头显佩戴者可以通过倾斜或转动头部,来移动屏幕上的滑块,未来可能用于调整音量和亮度等等。
对于双手不便的 Vision Pro 头显用户来说,苹果的这项专利探索提供了新的解决方案,佩戴者只需要移动头部和观察事物,就能控制苹果 Vision Pro 头显上的一切。IT之家附上相关图片如下:


这种“头部控制”方式必然会加剧佩戴者的晕动症,因此尚不清楚苹果未来是否会部署该专利方案,装备到 Vision Pro 后续产品中。

测评号









