据 5 月 25 日最新媒体消息,根据美国商标和专利局昨日公示的清单,苹果公司获得了一项关于“数字石头”的专利,配备了屏幕,且支持语音识别功能,可以配合 Vision Pro 头显使用。
IT之家翻译专利中部分内容如下:
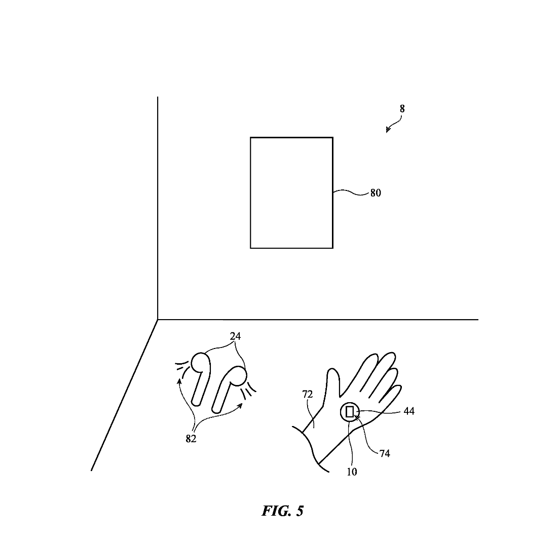
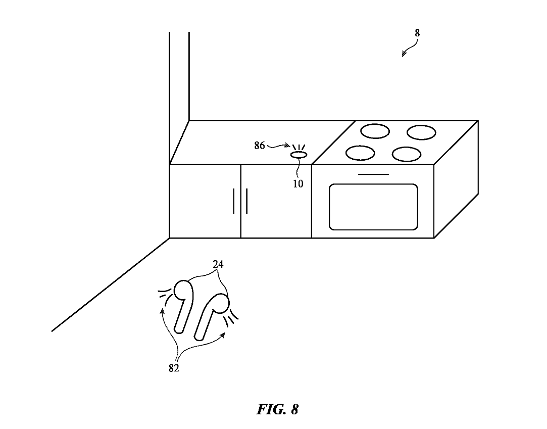
例如,一个 [鹅卵石或硬币大小] 的手持电子设备可以有以下内容:
一个用于收集触摸输入和提供视觉输出的小型触摸感应显示屏
一个或多个用于收集语音输入的麦克风
一个或多个用于提供音频输出的扬声器
用于跟踪手持电子设备位置
跟踪外部电子设备位置的位置跟踪电路
还可以包括触觉输出设备,用于向用户提供触觉输出。


该手持电子设备具备多种用途:
可用作语音控制助手
可用作运行一个或多个软件应用程序(如天气应用程序、音乐流应用程序、计算器应用程序、日历应用程序、支付应用程序等)的独立电子设备
可用作扬声器、电灯、厨房电器等家用物品的遥控器
可用作增强现实或虚拟现实系统中的锚点或视觉标记
可用作收集输入和 / 或提供与外部电子设备(如耳机、扬声器)相关输出的附属设备
可用作增强现实或虚拟现实系统中的锚点或视觉标记
可用作收集输入和 / 或提供与外部电子设备(如耳机、扬声器、移动电话、平板电脑、笔记本电脑、头戴式设备等)相关输出的附属设备
其它功能








测评号









